手扶式抹光機操作手冊

抹平機操作手冊

一、安全事項

1. 機器的特點和用途

此機器是一臺手扶式的水泥抹平機,由一臺發動機及安裝框架,一個齒輪箱,一個保護罩和操作手柄等部件組成。

此機器用于抹平和拋光混凝土表面。

2. 作業安全須知

① 只有經過系統培訓人員才允許啟動、操作和關閉機器。其理解操作手冊,知道如何正確使用機器,熟悉所有操作的部件。

② 在試圖操作機器前,要閱讀、理解并且按照用戶操作手冊里的步驟操作。

③ 不允許未成年,喝酒或服用藥物的人操作機器。

④ 禁止未經許可擅自操作機器。

⑤ 禁止在皮帶罩丟失的情況下操作機器,驅動皮帶和滑輪會有潛在的危險,可能會導致嚴重的傷害。

⑥ 禁止沒有通過系統培訓的人員操作機器,人員在操作機器前需熟悉各種風險和危害。

⑦ 操作機器的時候,不要使用未經批準的附件和附屬設備。

⑧ 操作的時候,不允許任何人站立或者倚靠在機器上。

⑨ 請不要在室內或者相對密閉的環境下使用機器,除非有良好的通風條件。發動機的排氣中含有一氧化碳,無色無味,但是可以在幾分鐘內導致你喪失意識甚至死亡。

⑩ 在運行和關機后的數分鐘內,不要觸摸發動機和消聲器,這些部位溫度非常高,會導致燙傷。

? 要始終保持緊急停機開關可以使用并且性能良好,如果此開關不能正常工作的時候,請不要使用機器。失去控制的機器會導致嚴重人身傷害,而且還會破壞混凝土的表面。緊急停機系統會在機器失去控制時候自動關停機器。

? 在啟動機器前,要保證安全開關在開的位置 (推桿在前面的位置) ,在啟動機器時,要保持一只手在手柄的位置,抓住機器把手,并且在操作的過程中不要松開。

? 在施工現場操作機器的時候需要著防護服,防護眼鏡,保護耳機,以及安全防護鞋。

? 機器停止工作時,要關緊發動機上的燃油閥。

? 不使用時,將機器存放在一個合適的地方,存放的地點需要清潔干燥,遠離兒童。

3. 使用內燃機的作業安全

① 在加油或者進行其他有關燃油操作的時候不要抽煙。

② 在有火花和明火的環境下不要啟動發動機。

③ 在燃油溢出或者燃油氣味明顯的時候不要啟動機器。把機器移出溢油位置,并且把機器擦擦拭干凈然后啟動。

④ 不要在發動機運行或者高溫的情況下加油。

⑤ 不要在有火花或者明火的環境下加油。

⑥ 加油的時候不要使燃油溢出。

⑦ 在運行和關機后的數分鐘內,不要觸摸發動機和消聲器,這些部位溫度非常高,會導致燙傷。

⑧ 如果加油的時候有燃油溢出,需要擦拭干凈,并且把抹布丟棄在一個安全的地方。在燃油或者機油泄露的時候不要操作機器。

⑨ 禁止在易燃易爆的環境下操作機器。

⑩ 禁止在通風條件不良或者密閉的空間里操作機器。

? 禁止在運輸過程中執行其他操作。工作前,停止發動機,并且把火花塞的線斷開,防止意外啟動。

? 避免長時間呼吸廢氣,你可能受到有害氣體傷害。

? 在發動機冷卻之后執行維修或維護服務。

? 維護及修理時處理燃料需要使用安全的容器。

? 禁止在消聲器周圍放置樹葉,紙張,紙盒等雜物,消聲器的高溫可以引燃這些物體。

4. 維修安全

① 在使用和維護之前仔細的閱讀隨機的使用說明書。

② 在維護保養之前熟悉所有控制和安全部件的位置和功能。

③ 如果需要的話可以聯系當地的經銷商獲得更多機器常識。

④ 不要讓沒有經過培訓的人員維修和保養機器,人員維修或維護機器必須熟悉相關的潛在風險和危害。

⑤ 在機器運行的時候不要嘗試清潔和檢修機器。旋轉的部件可能會造成傷害。

⑥ 在機器懸掛的時候不要移動刀片。

⑦ 在維修時,需要斷開電源,停止機器運轉,防止意外啟動。

⑧ 當機器需要更換零部件的時候,僅可以使用原廠配件或者規格一致的部件,如尺寸,類型,強度和材料等。

二、操 作

1. 首次使用前的準備工作

確定包裝材料已經從機器上移除。

檢查機器及其組件是否損壞,如果有可見的損壞,不要操作機器!聯系經銷商立即尋求幫助。

盤點所有物品,包括機器,松散的組件和緊固件。

添加所需的液體,包括汽油,機油等。

2. 主要控制部件


3. 安裝刀片圓盤

抹平機有3種類型的刀片可以選擇。

圓盤是最大款式的提漿產品,安裝在精抹或者組合刀片的下面,用于早期的工作,不能傾斜。

精抹刀片用于最后的工作,逐漸的傾斜可以提高磨光水泥效果。

組合刀片是一種多用途刀片、也可以用于提漿、也可用于最終磨光。

注:不要把大尺寸的刀片使用在小尺寸直徑的抹平機上,會照成嚴重身體傷害。

精抹刀片2個邊緣都是平等的,使用磨損了一邊以后,可以調頭安裝繼續使用。

安裝組合刀片的時候,按如下方向安裝。刀片的翹邊正確安裝在機器順時針朝外方向。

用螺栓(下圖01位)將刀片固定在刀桿上,安裝前需潤滑螺栓的螺紋,這樣可以防止混凝土膠結到螺絲連接處,并且使刀片去除更容易。

警告

在安裝圓盤的時候不要吊起抹平機,圓盤會掉落下來,使周圍的人受傷。


4. 啟動之前

在啟動機器前,檢查如下事項:

所有的手柄沒有油污

所有的空置桿在空擋的位置

所有的螺栓結合緊固

燃油位

發動機的機油位

齒輪箱的油位

檢查空氣濾芯使用情況顯示

環形防護罩的情況

手柄和刀片的情況

注意  在啟動前檢查發動機和機器的機油位,避免機器運行的時候沒有機油。(無機

油運轉會嚴重損壞發動機)

5. 手柄安裝和調節

打開紙箱尋找出手柄的組件并且組裝好,檢查并確保沒有在裝運的時候損壞零部件。把手柄總成安裝在齒輪箱上,使用隨機配備的螺母及扳手擰緊。

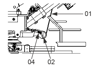
將調節刀片角度的鋼絲繩(右圖01位)從手柄管子凹槽部完全拉出,并且松開上面的螺母穿進撥叉槽孔內,擰上鎖緊螺母(右圖02位)。擰動調節手輪(右圖03位)保持鋼絲繩的適度松弛(手輪轉動一圈左右)撥叉在無負荷狀態(右圖04位)而且刀片處于水平(0℃傾斜)。

把油門開關向前推到底是怠速位置。取下空氣濾芯器,從壓板(右圖06位)下面穿過油門線管并鎖緊壓板(右圖06位),壓住油門線套管,拉出油門鋼絲連接到發動機油門支架上(右圖07位)鎖緊螺栓(右圖08位),要保持油門開關自然回位。重新安裝上空氣濾的蓋子。

手柄上有個可調節手柄高低的螺栓,松開螺母(下圖05位)然后根據操作者適合的高度向上或者向下調節,最后旋緊旋鈕加以固定。


6. 安全停機開關

這個開關的切換應該比較簡單,并一直保持在這個狀態。開關在關閉位置時,發動機不能啟動或運行。這個開關的目的是機器失控的狀態下可以緊急停止發動機運行(比如操作員在操作過程中放掉手柄)。

7. 開 機

在開機前必須了解所有控制部件的位置和功能。保證安全停機開關在“ON(開)”的位置。如果不是在那個位置,在嘗試啟動發動機前把推桿推到“ON(開)”的位置。

打開油箱下面的燃油閥(見右圖02位)

注意 如果發動機是冷卻,關上風門;如果發動機是熱的,則打開風門。在冷機啟動時把風門往后拉(關),預熱完成后向前推(開),拉動油門機器開始工作。(見右圖01位)




把發動機開關轉到“ON(開)”的位置。

把油門控制開關推向前怠速狀態。

拉動啟動拉繩。

警告 千萬不要在啟動發動機的時候把腳放在環形護罩上,如果腳滑到里面,當刀片旋轉的時候會造成嚴重的傷害事故。

發動機預熱后打開阻風門。(如果長時間不開風門運轉發動機,會照成發動機嚴重損壞)。

拉動油門控制開關操作抹平機,調節油門開關使刀片至合適的轉速。(0~150)

8. 停 機

將油門控制開關調到怠速位置以減慢發動機的轉速至怠速。安全停機開關向后推到關的位置,

然后關閉發動機開關至“OFF(關)”的位置。

9. 刀片傾斜角度調整

用傾斜角度調整旋鈕調節刀片傾斜角度,順時針方向旋轉增大刀片傾斜角度,逆時針方向旋轉減少刀片傾斜角度。

10. 抹平操作

把刀片安裝在抹平機的力臂上,當水泥凝固到可以充分的支撐抹平機的重量時,把機器放在水泥上。按照前面所介紹的選用合適的刀片和圓盤并且啟動機器。使用圓盤提漿效果最佳,刀片磨光時調整手輪來調整刀片傾斜角度,保證足夠的張力使混凝土抹平,保持調整刀片角度適中以免機器抖動或者顫動。

如果機器顫抖工作會使水泥表面出現波浪和不平衡印記,需要調整最佳刀片角度和機器轉速,混凝土干濕的平衡點才能做出完美地面。

11. 精整操作

經過專業設備平整以后,直至水泥可以承受抹平機的重量。調整刀片的傾斜角度,從“1/4”到“3/8”。如果刀片開始帶出水泥,則減少傾斜角度。

三、零配件組合


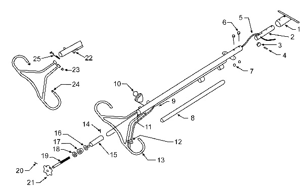
手柄組合(Y446、Y442、Y436、Y430)




序號

名稱

數量

1

扶手連接板

1

2

滑輪支架

1

3

滑輪

1

4

滑輪軸?10×30

1

5

調節鋼絲繩

1

6

外六角螺栓M12×65

2

7

鎖緊螺母M10

2

8

抬桿

1

9

內六角螺栓M6×8

2

10

安全開關總成

1

11

固定螺栓M6×12

1

12

油門開關總成

1

13

扶手體

1

14

彈性元柱銷5×30

1

15

調節鋼絲主體

1

16

平墊片?4

1

17

調節鋼絲固定座

1

18

平面軸承51103

1

19

調節鋼絲螺桿M18

1

20

彈性元柱銷5×40

1

21

調節鋼絲手輪

1

22

可調手柄主體

1

23

不銹鋼螺帽M12

1

24

塞頭

2

25

不銹鋼外六角螺栓M12×130

1

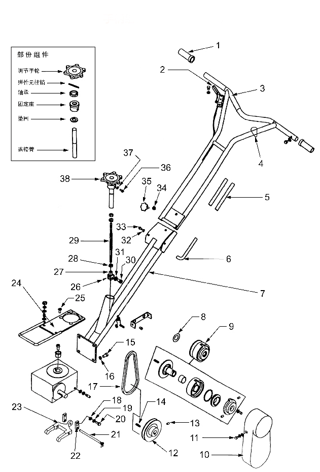
手柄組合(Y424收邊機)


序號

名稱

數量

1

橡膠套

2

2

油門開關

1

3

扶手

1

4

熄火開關

1

5

塑料管

2

6

斜面螺母

1

7

下連接桿

1

8

補償墊圈

1

9

離合器

1

10

皮帶罩殼

1

11

自攻螺絲

4

12

皮帶輪

1

13

螺釘

1

14

1

15

六角螺栓

4

16

墊圈

4

17

皮帶

1

18

平墊

1

19

彈墊

1

20

六角螺栓

1

21

肖子

1

22

撥叉接腳

2

23

撥叉

1

24

發動機座

1

25

沉頭內六角螺栓

4

26

開口肖

1

27

連接叉

1